Skip Navigation

Installation Instructions & Warranty Information from AAA Blinds

Installation Instructions

Your blind has been custom made by AAA Blinds to your specifications and is one of the finest window treatments available. Before you install your blinds, please take a few moments to read these instructions. With careful installation and periodic cleaning your blinds will provide you with many years of trouble free service.


For your and your family's safety, please read the warning included in these instructions carefully. You will also find a warning tag attached to the lift cord. Please keep these installation instructions so that future owners of this product are aware of the potential dangers associated with children playing with blind cords.

Emergency First Aid for Strangulation

  • Remove cord from child’s neck
  • Call 911 or Emergency Centre
  • Clear throat
  • Check breathing and heartbeat
  • Begin CPR, if required

Mounting Hardware

mounting hardware

Be sure you have all components.

Included in package:

  1. Complete blinds
  2. Two mounting brackets
  3. One wand (If you select this control option)
  4. Several screws
  5. One valance (If you choice outside mount option, two valance returns and two valance return clips will be included)
  6. Several valance clips
  7. Several center support brackets (for sizes wider than 32").
  8. Two hold-down brackets (If you select this option).
  9. Installation instructions
  10. Safety cord-stops
mounting hardware

Brackets should be placed at the width of blinds head rails + 1/4" past each end. The bracket does not necessarily need to touch the inside face of the window frame.

mounting hardware

Align the top of the center support bracket with the top of the mounting bracket before installation. Install with the bigger flap of the center support bracket on the top side and off ladder positions.

mounting hardware

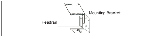
Push rail into brackets, then press gate to close brackets and hook valance clip with valance attached onto the top of the head rail.

mounting hardware

Always tilt blind horizontally before raising or lowering to extend the life of the blinds.

To lower blind: Move cord to left, pulling down gently until cord lock releases.

To raise blind: Pull cord downward until blind reaches desired height.

To lock cord: Pull cord right and release. Cord will lock automatically.

mounting hardware

Hold down brackets: Using two small screws, screw base of hold-down bracket to window facing or wall. Snap bracket pin ends into the hole of the bottom rail end caps.


NOTE: The use of hold-down brackets is recommended to fully utilize the safety feature of the cord-stops.

Warranty Coverage

All of the custom made blinds manufactured by AAA Blinds are covered by a limited lifetime warranty. This warranty is extended to you as the original purchaser for as long as you own the blinds in a residential application.

Covered:

The entire product is warranted against manufacturing defects (i.e., a flaw in the product design, materials or workmanship that causes the product to no longer function) Lifetime  Except:

Cords (including internal cords) - 3 years

Vertical vinyl vanes - 3 years

All fabric - 3 years

Not Covered:

Normal wear and tear is not covered. Nor is any product that fails due to:

  • Abuse
  • Damage from pets/insects
  • Improper cleaning
  • Improper operation
  • Accident
  • Exposure to salt air
  • Improper handling
  • Misapplication
  • Alterations
  • Extraordinary use
  • Improper installation
  • Misuse

Other exceptions to warranty coverage include any product that has experienced, with the passage of time:

  • Loss of colour intensity
  • Loss of pleating, if the product was not held in a raised position during a portion of the time
  • Yellowing or cracking of plastic parts or foam wood product

Also excluded are natural wood products that have:

  • Variations in colour, grain or texture
  • Warping of wooden slats in high temperature areas

Colours may vary from lot to lot and may not exactly match sample swatches or previous purchases. Please be sure to order all blinds in the same room together for the best possible matching.

If your products are defective during the warranty period we will repair or replace the defective product. This shall be your only remedy under this warranty. AAA Blinds accepts no liability for Incidental or consequential damages or costs associated with:

  • Product removal
  • Transportation to and from the retailer
  • Product re-measure
  • Incidental or consequential damages
  • Product reinstallation
  • Shipping

If warranty service is ever needed, please contact AAA Blinds and a repair or replacement will be arranged as quickly as possible. In the event there are multiple blinds/shades in the same room, only the defective blind/shade will be replaced.

For more information about our products or to view our inventory, please visit our showroom in Richmond, BC.

Send to a friend

Send the url of this page to a friend of yours

AAA Blinds

106-11500 Bridgeport Rd

Richmond, BC V6X1T2

Phone

604-233-1963

Email

3ablinds@gmail.com

Hours

Monday to Friday 9:30am-6pm
Saturday 11am-6pm
Sunday Closed

Copyright AAA Blinds 2021 - Legal - Privacy Policy
Created by

Legal notice